1. Hiện tượng:
2. Khoanh vùng hư hỏng:
- Công tắc gạt mưa hư hỏng.
- Mass của công tắc có vấn đề.
- Dây dẫn có vấn đề.
3. Quy trình sửa chữa:
3.1 Kiểm tra công tắc tổ hợp gạt mưa kính chắn gió:
- Kiểm tra bằng cách đo điện trở các giá trị có trong bảng phía dưới:
Điện trở tiêu chuẩn:
Công tắc gạt mưa phía trước:
| Kiểm tra thử các kết nối | Kiểm tra thử các kết nối | Điều kiện xác định |
| D40-1 (+S) – D40-3 (+1) | OFF | Dưới 1 Ω |
| INT | ||
| D40-2 (+B) – D40-3 (+1) | MIST | |
| LO | ||
| D40-2 (+B) – D40-4 (+2) | HI |
Công tắc bơm nước phía trước:
| Kiểm tra thử các kết nối | Kiểm tra thử các kết nối | Điều kiện xác định |
| D39-2 (EW) – D39-3 (WF) | ON | Dưới 1 Ω |
| OFF | 10 kΩ hoặc cao hơn |
Công tắc gạt mưa phía sau:
| Kiểm tra thử các kết nối | Kiểm tra thử các kết nối | Điều kiện xác định |
| D39-6 (C1R) – D39-2 (EW) | OFF | 10 kΩ hoặc cao hơn |
| D39-7 (+1R) – D39-2 (EW) | ||
| D39-6 (C1R) – D39-2 (EW) | INT | Dưới 1 Ω |
| D39-7 (+1R) – D39-2 (EW) | HI | Dưới 1 Ω |
Công tắc bơm nước phía sau:
| Kiểm tra thử các kết nối | Kiểm tra thử các kết nối | Điều kiện xác định |
| D40-5 (WR) – D39-2
(EW) |
OFF | 10 kΩ hoặc cao hơn |
| D39-7 (+1R) – D39-2 (EW) | ||
| D40-5 (WR) – D39-2
(EW) |
WASH | Dưới 1 Ω |
| D40-5 (WR) – D39-2
(EW) |
ON + WASH | Dưới 1 Ω |
| D39-7 (+1R) – D39-2 (EW) |
- Nếu kết quả KHÔNG như tiêu chuẩn, hãy thay cụm công tắc gạt mưa kính chắn gió.
Kiểm tra như hình minh họa dưới đây:

3.2 Kiểm tra tình trạng hoạt động không liên tục:
- Nối 1 dây dương (+) của vôn kế với cực D40-3 (+1) và dây âm (-) với cực D39-2 (EW).
- Kết nối dây dương (+) của bình ắc quy với cực D40-2 (+B) và dây âm (-) với cực D39-2 (EW) và D40-1 (+S).
- Xoay công tắc gạt mưa sang vị trí INT.
- Nối cực dương (+) của ắc quy với cực D40-1 (+S) trong 5 giây.
- Nối dây âm (-) của ắc quy vào cực D40-1 (+S). Vận hành rơ le gạt mưa gián đoạn và điện áp giữa các cực D40-3 (+1) và D39-2 (EW).
OK: Điện áp thay đổi như trong hình minh họa.
- Nếu kết quả KHÔNG như tiêu chuẩn, hãy thay cụm công tắc gạt mưa kính chắn gió.

- Chú thích:
*1 Điện áp giữa cực D40-3 (+1) và D39-2 (EW).
*2 NHANH CHÓNG: Kết nối dây âm ắc quy (-) với cực D40-1 (+S)
*3 CHẬM: Kết nối cực âm ắc quy (-) với cực D40-1 (+S)
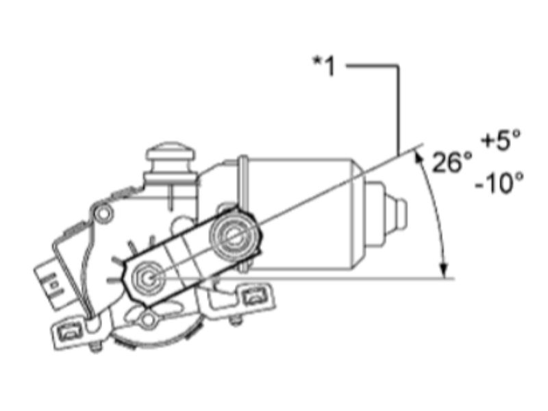
3.3 Kiểm tra mô tơ gạt mưa kính chắn gió:
a. Kiểm tra ở chế độ LO:
- Kết nối dây dương (+) của ắc quy với chân số 5 (+1) và dây âm (-) với chân số 4 (E) và kiểm tra xem mô tơ có hoạt động ở tốc độ thấp (LO) hay không.
OK: Mô tơ hoạt động ở tốc độ thấp (LO).
Kiểm tra như hình 3.

b. Kiểm tra hoạt động chế độ HI:
- Kết nối dây dương (+) của ắc quy với chân số 3 (+2) và dây âm (-) với chân số 4 (E) và kiểm tra mô tơ có hoạt động ở tốc độ cao (HI) hay không.
OK: Mô tơ hoạt động ở tốc độ cao (HI).
c. Kiểm tra hoạt động tự động dừng (đỗ).
- Nối dây dương (+) của ắc quy với chân số 5 (+1) và dây âm (-) với chân số 4 (E), ngắt kết nối chân số 5 (+1) để dừng hoạt động của động cơ gạt mưa ở bất kỳ vị trí nào ngoài dấu khớp.
- Sử dụng SST, kết nối các chân số 1 (+S) và 5 (+1). Sau đó nối dây dương (+) của ắc quy với chân số 2 (B) và dây âm (-) với chân số 4 (E) để khởi động lại hoạt động của mô tơ ở tốc độ thấp (LO).

- Kiểm tra xem mô tơ có tự động dừng đúng vị trí hay không.
OK: Mô tơ tự động dừng đúng vị trí.
Nếu kết quả KHÔNG như tiêu chuẩn hãy thay cụm mô tơ gạt mưa kính chắn gió.
- Tham khảo như hình 4.

Xem thêm:
Trung Tâm Huấn Luyện Kỹ Thuật Ô Tô Việt Nam – VATC
- Địa chỉ: Số 4-6, Đường số 4, Phường Hiệp Bình Phước, Thành Phố Thủ Đức, Thành phố Hồ Chí Minh
- Điện thoại: 0945711717
- Email: info@oto.edu.vn

