1. Tổng quan
Hệ thống phanh đỗ điện là phiên bản nâng cao của hệ thống phanh tay truyền thống. Chức năng chính là tránh chuyển động của xe khi đỗ trên đường bằng hoặc trên dốc. Ngoài ra, hệ thống phanh này cũng đóng một vai trò quan trọng trong việc tránh chuyển động lùi khi xe tái khởi động trên dốc. Phanh đỗ xe chỉ hoạt động ở bánh sau của xe.

Hệ thống phanh đỗ điện được trang bị giúp tăng tính tiện nghi. Hệ thống này có 3 chức năng:
- Chức năng điều khiển thủ công: Thực hiện chức năng gài/nhả phanh đỗ qua công tắc tại khu vực khoang cabin
- Chức năng điều khiển tự động: Tự động thực hiện chức năng gài/nhả phanh đỗ tương ứng với vị trí số.
- Chức năng dự phòng: Hoạt động tương ứng với tình trạng của chức năng giữ phanh.
* Chức năng giữ phanh: Giữ cho xe đứng yên mà không yêu cầu người lái phải đạp phanh chắc chắn hoặc gài phanh đỗ (trong trường hợp chờ đèn đỏ hoặc thường xuyên phải dừng khi di chuyển).
2. Vị trí các chi tiết


| *1 | Bộ chấp hành phanh
|
*2 | ECM |
| *3 | Cụm chấp hành phanh đỗ LH | *4 | Cụm chấp hành phanh đỗ RH |

| *1 | Cụm đồng hồ Táp lô | *2 | Cụm cảm biến túi khí
|
| *3 | Cụm công tắc phanh đỗ điện | *4 | ECU cổng kết nối |
| *a | Đèn chỉ thị | *b | Công tắc phanh đỗ điện |
3. Sơ đồ hệ thống

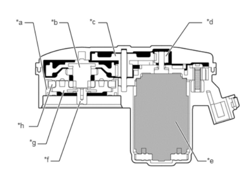
4. Kết cấu của các chi tiết chính
a.Bộ chấp hành phanh đỗ

| *a | Bánh răng bao | *b,c,d | Các bánh răng giảm tốc |
| *e | Mô tơ | *f | Khớp nối (trục ra) |
| *g | Cần dẫn | *h | Bánh răng hành tinh |
b. Cụm càng phanh

| *1 | Xy lanh phanh đĩa sau | *2 | Cụm bộ chấp hành phanh đỗ |
| *3 | Pít tông phanh đĩa sau | *4 | Đai ốc |
| *5 | Bu lông | *6 | Vòng đệm |
| *7 | Vòng bi | *8 | Phớt |
| *9 | Đệm chữ O | *10 | Phanh hãm |
5. Nguyên lý hoạt động
5.1. Chức năng điều khiển thủ công
- Khi kéo công tắc phanh đỗ trong khi xe đang dừng, ECU điều khiển trượt kích hoạt mô tơ trong cụm chấp hành phanh đỗ để gài phanh đỗ. ECU điều khiển trượt tạo ra lực phanh tùy theo tình trạng mặt đường bằng cách tính toán độ dốc mặt đường dựa trên tín hiệu của cảm biến gia tốc và điều khiển dòng điện dẫn động mô tơ.
- Khi đạp bàn đạp phanh và sau đó nhấn công tắc phanh đỗ, ECU điều khiển trượt kích hoạt mô tơ trong cụm chấp hành phanh đỗ theo chiều ngược lại để nhả phanh đỗ.
- Khi xảy ra hư hỏng với công tắc phanh đỗ, chức năng điều khiển tự động được tự động kích hoạt.
5.2. Chức năng điều khiển tự động
- Có thể chuyển từ chức năng điều khiển thủ công sang chức năng điều khiển tự động thông qua công tắc phanh đỗ.
- Khi kéo và giữ công tắc phanh đỗ trong thời gian >=5 giây trong khi phanh đỗ đã gài, chức năng điều khiển tự động được kích hoạt.
- Khi nhấn và giữ công tắc phanh đỗ trong thời gian >= 5 giây trong khi phanh đỗ đã nhả, chức năng điều khiển tự động được hủy.
- Khi chức năng điều khiển tự động được kích hoạt hoặc hủy, dòng cảnh báo sẽ được hiển thị trên màn hình đa thông tin thông báo về tình trạng này.
- Khi chuyển cần số từ một vị trí bất kỳ khác về P ở chế độ điều khiển tự động, ECU điều khiển trượt kích hoạt mô tơ để gài phanh đỗ. Khi cần số được chuyển từ vị trí P tới vị trí khác P trong khi đạp bàn đạp phanh, phanh đỗ được nhả.
5.3. Chức năng dự phòng
Hệ thống phanh đỗ điện sẽ tự động kích hoạt mô tơ để giữ cho xe ở vị trí đang đỗ trong các trạng thái sau:
- Khi xảy ra hư hỏng với chức năng giữ phanh trong khi xe đang dừng nhờ chức năng giữ phanh.
- Khi xe đang dừng nhờ chức năng giữ phanh mà hoạt động phanh không được thực hiện trong vòng 3 phút.
6. Ưu nhược điểm của hệ thống phanh đỗ điện EPB
6.1. Ưu điểm
- Thời gian đáp ứng của hệ thống rất nhanh
- Hoạt động ổn định
- Cải thiện khả năng điều khiển ô tô khi khởi động trên đường dốc
6.2. Nhược điểm
- Giá thành hệ thống cao
- Khó sửa chữa khi gặp sự cố (cần kỹ thuật viên có tay nghề cao)
VATC đã giới thiệu chi tiết về hệ thống phanh đỗ điện EPB (Electronic Parking Brake). Qua đó, bạn có thể hiểu rõ hơn về cấu tạo, nguyên lý hoạt động và ưu điểm của công nghệ phanh hiện đại này. Hy vọng những kiến thức này giúp bạn nắm bắt được cách EPB cải thiện an toàn và tiện lợi trong quá trình đỗ xe.
Có thể bạn quan tâm:
- 11 Nguyên nhân khiến điều hòa ô tô không lạnh và cách khắc phục
- Xéc măng động cơ? 6 điều cần biết về xéc măng của ô tô
Trung Tâm Huấn Luyện Kỹ Thuật Ô Tô Việt Nam – VATC
- Địa chỉ: Số 4-6, Đường số 4, Phường Hiệp Bình Phước, Thành Phố Thủ Đức, Thành phố Hồ Chí Minh
- Điện thoại: 0945711717
- Email: info@oto.edu.vn

